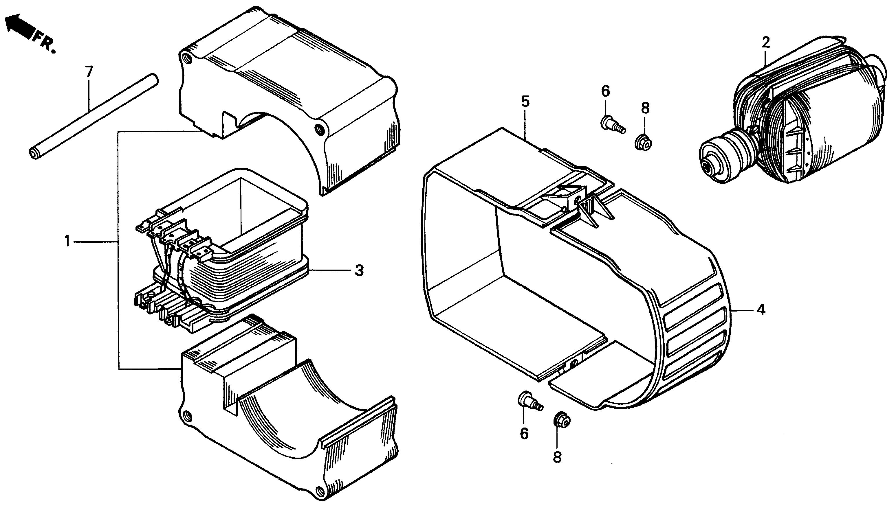
Generators EZ EZ1400 EZ1400 A EZEY-1000001-9999999 ROTOR STATOR - Suburban Lawn & Equipment, Inc.

Ref No
Part Number
Description
Serial Range
Qty
Price

Ref No
1
Part Number
31010-ZS0-H60
Description
CORE SET, STATOR
Serial Range
1000001 - 9999999

Ref No
2
Part Number
31130-ZS0-H62
Description
ROTOR
Serial Range
1000001 - 9999999
Qty
Price
$460.74

Ref No
3
Part Number
31150-ZS0-G31
Description
BOBBIN, STATOR COIL (EZ-A)
Serial Range
1000001 - 9999999

Ref No
4
Part Number
31181-ZS0-H61
Description
COVER, R. STATOR
Serial Range
1000001 - 9999999

Ref No
5
Part Number
31182-ZS0-H60
Description
COVER, L. STATOR
Serial Range
1000001 - 9999999

Ref No
6
Part Number
90018-ZA5-000
Description
BOLT, STATOR COVER SETTING
Serial Range
1000001 - 9999999
Qty
Price
$12.24

Ref No
7
Part Number
90701-ZA3-000
Description
PIN, DOWEL (11X91)
Serial Range
1000001 - 9999999
Qty
Price
$21.16

Ref No
8
Part Number
94050-05000
Description
NUT, FLANGE (5MM)
Serial Range
1000001 - 9999999
Qty
Price
$11.60